The name of the bomb consists of the type of bomb (FAB-250M-46), its caliber in kilograms (FAB-250M-46), model by year of adoption (FAB-250M-46 - model 1946) and additionally (not always) an indication of its mass - if it differs significantly from the caliber (OFAB-250-270, FAB-1500-2600TS) and/or the design feature of the bomb or its production technology (FAB-500T - heat-resistant (термостойкая; termostoykaya), FAB-1500-2600TS - thick-walled (толстостенная; tolstostennaya), FAB-100sch - steel cast iron (сталистый чугун; stalistyy chugun), FAB-1000sl - steel casting (стальное литьё; stal'noye lit'yo), or for commercial purposes (KAB-500S-E - export).
Bomb types
"AB" (АБ) in FAB stands for "aerial bomb" (авиационная бомба)
OMAB-N (ОМАБ-Н) - sea-orientation (night)Some popular sizes and types, left to right: 1.FAB-100 2.FAB-250 3.FAB-250M46 4.OFAB-250 5.FAB-500M54 6.FAB-500 7. FAB-500M62 8.FAB-5000
Models and types
High explosive
FAB with short body
Detonator
FAB high elongation
Explosive
FAB Thick-walled
Body
High-explosive aerial bombs (FAB) are aerial bombs whose main destructive effect is the effect of an explosion. They have the most powerful and versatile lethal effect among main-purpose aerial bombs. The mass of the explosive in the bomb is approximately 50% of its weight, and the bomb also has a relatively strong body for penetration into the ground or into obstacles such as the floors of buildings and structures.[1]
Main destructive forces:
Gaseous explosion products with high overpressure
Shock waves in air or soil and seismic waves
Fragments from crushing the bomb body.
Primary targets:
Logistics and communications facilities
Military-industrial and energy facilities
Combat vehicles
Living force.
Modern general-purpose FABs weigh 250 kg or more. They can have several forms:[1]
Blunt nosed (Тупоконечная) - designed for the most efficient placement inside the fuselage. Dropped at near- and subsonic speeds and altitudes of up to 15–16 km.
High elongation (Большого удлинения) - they have a streamlined head section, designed mainly for aircraft with external suspension, including supersonic ones. They have less drag and are more stable.
Thick-walled (TS index) - Designed for deployment against particularly strong targets (reinforced concrete weapons depots, equipment parking lots, runways, dams). Such bombs are distinguished by a more massive and durable head part, a thicker body, and the absence of a head point for the fuse and a fuse cup.
OFAB - a high-explosive fragmentation bomb is a regular high-explosive bomb, but with a lower explosive filling of about 30-35%, and special means of organized crushing of the body, such as a sawtooth inner side of the body or a system of longitudinal and transverse grooves (although on outdated models they might not have been installed).[1]
BetAB - a concrete-piercing aerial bomb. Designed for effective destruction of reinforced concrete shelters and runways. Structurally, they are divided into two types:
Free fall - designed for bombing from high altitudes. Structurally close to thick-walled high-explosive bombs.
With a parachute and a jet accelerator - designed for bombing from any (including low) altitudes. Due to the parachute, the bomb tilts to 60°, the parachute is unfastened and the rocket accelerator is turned on.[1]
PLAB - anti-submarine bomb. Designed to destroy submarines. May have different designs. Large-caliber bombs usually have a non-contact (hydroacoustic, barometric, remote, or more often combined) fuse, and hit the target with a high-explosive effect (hydrodynamic shock) at a distance. A low-power nuclear charge is well suited for them (as an example, the domestic PLAB 5F48 “Skalp”).
Small-caliber bombs are usually used as part of cassettes and have a contact fuse and a shaped charge bomb design.[1]
ZAB - incendiary aerial bomb. Designed to destroy manpower and military equipment with fire. The mass of incendiary bombs does not exceed 500 kg. Structurally, incendiary bombs are divided into 2 types:
With pyrotechnic incendiary composition - used in all bombs less than 100 kg, and in some with a caliber of more than 100. The pyrotechnic composition is usually thermite with a binder. The body usually consists of combustible metal "electron" (an alloy of aluminum and magnesium).
With a viscous fire mixture - used for bombs with a caliber of 100 to 500 kg. A fire mixture is organic flammable substances thickened to a viscous state with special substances (rubber, liquid glass, polystyrene). The fire mixture in a thickened state is dispersed during an explosion into large pieces, which burn for several minutes at a temperature of about 1000 °C. The design of the bomb also includes a cartridge with phosphorus and a small explosive charge; after detonation, the phosphorus spontaneously ignites in air and ignites the fire mixture.
FZAB - high-explosive incendiary bomb. They are a combination of FAB and ZAB in one body. When a bomb is detonated, the incendiary part detonates first, and then the high-explosive part.
ZB - incendiary tank. They are ZAB in a thin-walled casing without a stabilizer and without an explosive charge. Scattering and crushing is carried out by means of a hydraulic shock that occurs when it hits an obstacle. They can only be used effectively from low altitudes.[1]
ODAB
Fuse
Dispersing charge
Equipment
Secondary (initiating) charge
Body
Container with parachute
ODAB - volume detonating bomb. Provides greater effect against manpower and vulnerable equipment (including in open shelters) than FAB. When encountering an obstacle, the dispersing charge is activated, the body is destroyed, the fuel splits and scatters. The fuel evaporates and, mixing with air, forms a cloud of air-fuel mixture. After the time required for the formation of a cloud of sufficient size, the secondary detonating explosive charge ignites the air-fuel mixture.[1]
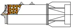
RBK - disposable bomb clusters. They are thin-walled aerial bombs, designed for the use of small-caliber aerial bombs (up to 20 kg). The name consists of an abbreviation and type of equipment. Some RBKs are equipped with a removable fairing, which allows the RBC to be effectively installed on aircraft with both an external sling and an internal weapons bay. Based on the method of dispersing combat elements, RBKs are divided into two types:
obturator type - have in their design a rigidly fixed obturator disk, which, after the remote fuse is triggered and the expelling charge is ignited by it under the action of powder gases, is separated from the glass and moves inside the bomb body along with the central pipe around which small aerial bombs are placed. The tail cone is separated, and the combat elements extend beyond the cassette.
Sectional view of RBK with central ignition-explosive charge (RBK-250 ZAB2.5M)
Cylindrical metal shell (Стакан)
Cluster elements
Central tube with ignition-explosive charge inside
Body
with a central ignition-explosive charge - the bomb design has a central perforated pipe with a charge and a side weakened section covered by a strip. When the fuse is triggered, the charge is initiated. The resulting gases destroy the cross-section of the bomb body and scatter aerial bombs, thereby achieving a large area of scattering of aerial bombs.[1]
KMGU - Unified Container for Small-sized Load. Designed for transportation and release of BKF (container front-line units) with submunitions. During combat use, the KMGU itself is located on the aircraft’s weapons suspension unit and is not dropped (although in an emergency it can be forcibly dropped). Structurally, the KMGU is a streamlined body with controlled flaps, compartments for suspending the BKF and automation that allows you to adjust the block release interval.[3][7]
Cluster bomb submunitions
Relatively small caliber bombs are used as submunitions (bomblets) of cluster bombs. Due to the specifics of their use, in addition to the types of bombs described above, there are also specialized bombs, currently used mainly only in cluster bombs and KMGU.
OAB (АО, ShOAB) - an aerial fragmentation bomb (aviation fragmentation bomb, ball fragmentation aerial bomb). Air bombs whose main effect is fragments of the hull. The caliber of the bombs ranges from 0.5 to 50 kg. They are designed to destroy manpower, non- and lightly armored vehicles. Old aerial bombs have a cylindrical body with a rigid stabilizer that provides irregular crushing; modern bombs have a spherical or hemispherical design, a folding stabilizer, aerodynamic devices, notches for organized crushing of the body, or ready-made striking elements.
Bombs with ready-made fragments are made from two hemispheres reinforced with steel balls. Inside the case there is a bursting charge and a contact fuse.
Bombs with notches also have a delayed fuse. When meeting an obstacle, such a bomb is divided into two parts and, after the time required to rise several meters, is detonated.[1]
PTAB - an anti-tank aerial bomb. Designed to destroy armored objects. The destructive effect is a jet formed by a shaped charge inside the bomb body. Also, when detonated, the bomb body produces fragments that can hit manpower and unarmored vehicles. For the cumulative jet to be effective, the explosion must occur at a distance called the focal distance. Older bombs have a contact head or bottom fuse. Modern bombs have a built-in fuse with a target sensor.[1]
^ abcdefghijМиропольский Ф. П., Кузнецов В. В., Саркисян Р. С., Галушко Б. И., Моисеев А. Г., Сапков В. В., Вишняков О. Л. (1995). Авиационные средства поражения / Под ред. Ф. П. Миропольского. Moscow: Voenizdat.{{cite book}}: CS1 maint: multiple names: authors list (link)